
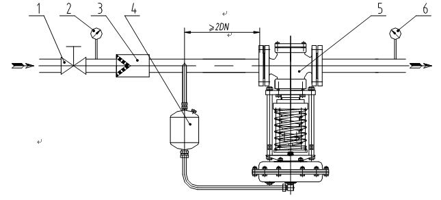
自力式調節閥安裝圖

自力式調節閥地面安裝圖
自力式調節閥的安裝與調試
一、帶指揮器型調壓原理
指揮器操作型自力式壓力調節閥無需外加能源,利用被調介質自身壓力作為動力源,引入指揮器以控制主閥的閥芯位置來改變閥門的介質流量,使閥后壓力保持恒定。介質由閥體上箭頭方向流經閥體,上游壓力P1經過濾減壓閥進入指揮器B室作為驅動源使用。受控的下游壓力P2經導壓管傳送到指揮檢測室A,并在此轉換成定位力。當下游壓力升高或降低時,使指揮器閥芯位移,氣源進入C,使調壓閥趨向開啟或關閉,從而達到減壓、穩壓的目的。
二、安裝注意事項:
1、閥門安裝方向與流向一定要保證一致。
2、閥門使用工藝參數一定要與名牌一致。
3、管道內要求介質干凈,無粉塵,堅硬的顆粒。
三、調試
1、緩慢打開閥前手動截止閥,并觀察閥后管道壓力表,查看壓力是否在閥門設計值內。(注:瞬間打開閥前控制閥門)
2、如閥后壓力與設計值一致,無需調試。
3、如閥后壓力不在工藝值范圍內,首先打開防雨罩,調整蝴蝶螺母。(順時針調節,閥后壓力增大,反之減小。)
4、如閥門有震蕩或壓力不穩定。先觀察減壓閥壓力,是否在2-2.5kg范圍內。
5、如不在2-2.5kg范圍內,調節減壓閥使值落在以上范圍內。
6、如果震蕩,打開限流閥防雨罩,松開拼緊螺母,順時針轉動限流閥芯螺桿到底后再逆時針轉動一周,再觀察閥門是否震蕩。
7、調試完畢后,將拼緊螺母拼緊。